AmaArt: 09136
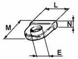
Coltello per trincia a Y realizzato in acciaio. Lunghezza 200 mm, altezza 55 mm, foro diametro 25,5 mm e peso 930 g. Piatto largo 60 mm e spesso 10 mm.Compatibile con Acma, Becchio-Berfralk, Dragone, Falc, Frontoni, Kuhn, Meaat, Nobili, Omarv, Perugini...