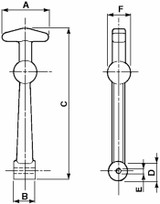
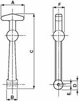
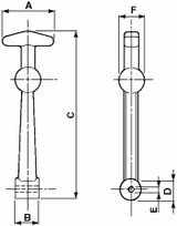
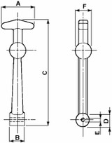
AmaArt: 73562C
Tirante cofano mini, blister da 2 pezzi. Chiusure in gomma con mescole che garantiscono elasticità mantenendo il corretto “tiraggio“ del cofano motore, nello stesso tempo la chiusura elastica permette di assorbire le vibrazioni anche di notevole ampiezza.