100 pezzi AmaArt: CP1358A Bullone testa ovale M10x45 con dado Bullone a testa ovale M10x45 con quadro sottotesta 10 mm per fissaggio vomerino a molla flex. Completo di dado. €51.46 Aggiungi al carrello L'articolo è stato aggiunto Confronta
100 pezzi AmaArt: CP1358 Bullone testa ovale M10x38 con dado Bullone a testa ovale M10x38 con quadro sottotesta 10 mm per fissaggio vomerino a molla flex. Completo di dado. €42.45 Aggiungi al carrello L'articolo è stato aggiunto Confronta
AmaArt: CP1475 Vomerina strozzata 32x8mm per molla rompitraccia Vomerina strozzata con dimensioni di 32x8 mm, progettata per essere utilizzata con la molla rompitraccia di dimensioni 32x10 mm. Dotata di interasse fori di 28 mm, questa vomerina offre una soluzione precisa e affidabile per le esigenze di lavorazione... €24.40 Aggiungi al carrello L'articolo è stato aggiunto Confronta
AmaArt: SAR6488 Vomerina triangolare Ama di tipo Adige per molle quadre da 250x190mm Questa vomerina triangolare di tipologia Adige del marchio Ama è progettata appositamente per molle quadre. Con la sua forma triangolare e le sue dimensioni di 250x190 mm, è un’ottima soluzione per la lavorazione del terreno. Permette un ribaltamento... €32.47 Aggiungi al carrello L'articolo è stato aggiunto Confronta
AmaArt: CP1826 Vomere reversibile 40x6x135 per molla gare Vomere reversibile 40x6x135 per molla gare con foro €24.40 Aggiungi al carrello L'articolo è stato aggiunto Confronta
AmaArt: CP1945 Vomere a lancia 200x6mm per molla flex Vomere a lancia per vibrocoltivatore con larghezza di 200 mm, spessore di 6 mm e un interasse dei fori di 45 mm. È progettato per adattarsi alle molle flex a due fori di dimensioni 45x12 mm e 60x12 mm. I due fori sono svasati a 20 mm di diametro... €25.62 Aggiungi al carrello L'articolo è stato aggiunto Confronta
AmaArt: CP1947 Vomere reversibile 60x6x260/45 per molla flex Vomere reversibile 60x6x260 interasse fori 45 mm, per molla flex 45x12 e 60x12 a due fori per molle per vibrocoltivatori. €24.40 Aggiungi al carrello L'articolo è stato aggiunto Confronta
10 pezzi AmaArt: CP1822 Vomere reversibile 210x40x8mm per molla flex Vomere reversibile per vibrocoltivare con lunghezza di 210 mm, larghezza di 40 mm e spessore di 8 mm. Questo modello è progettato per essere utilizzato su molle flex di diverse tipologie. Dotato di bullone di fissaggio a testa ovale di dimensioni... €35.42 Aggiungi al carrello L'articolo è stato aggiunto Confronta
10 pezzi AmaArt: CP1822A Vomere reversibile 210x40x6mm per molla flex Vomere reversibile per vibrocoltivare con lunghezza di 210 mm, larghezza di 40 mm e spessore di 6 mm. Questo modello è progettato per essere utilizzato su molle flex di diverse tipologie. Dotato di bullone di fissaggio a testa ovale di dimensioni... €32.09 Aggiungi al carrello L'articolo è stato aggiunto Confronta
AmaArt: CP1823 Vomere reversibile 40 x 5 x 180 per molla flex Vomere reversibile 40x5x180 per molla flex €24.40 Aggiungi al carrello L'articolo è stato aggiunto Confronta
AmaArt: SAR6498 Vomere reversibile 40x4,5x215mm per coltivatori Vomere reversibile per coltivatori con delle dimensioni di 40x4,5x215 mm. Articolo che consente il ribaltamento del terreno da parte del versoio, facilitando la penetrazione nel terreno. Questo prodotto, realizzato in acciaio al boro temprato, presenta... €24.40 Aggiungi al carrello L'articolo è stato aggiunto Confronta
AmaArt: CP1478 Molla rompitraccia per vibrocoltivatori 40x10mm con vomerina Molla rompitraccia per vibrocoltivatore con sezione di 40x10 mm. Questa molla è costruita con un corpo in acciaio al silicio e in acciaio al boro temprato. Prodotto trattato in modo da ottenere la rimozione della calamina dai pezzi, l'indurimento della... €42.92 Aggiungi al carrello L'articolo è stato aggiunto Confronta
AmaArt: CP1392 Molla sinistra per coltivatore 20x20mm Questa molla di tipo quadro sinistra a doppia spira è la soluzione di ricambio ideale per gli estirpatori e presenta delle dimensioni di 20x20 mm. Grazie alla sua struttura versatile, offre un'aderenza perfetta al terreno, consentendo... €45.87 Aggiungi al carrello L'articolo è stato aggiunto Confronta
15 pezzi AmaArt: CP1360D Vomerino reversibile 40x5x190 per molla flex Vomerino reversibile per vibrocoltivatore con dimensioni di 40x5x190 mm, progettato per l'uso con molle flex con sezione di 32x10 mm e 32x12 mm. Per l'installazione è necessario un bullone a testa ovale M10 che può essere acquistato... €32.40 Aggiungi al carrello L'articolo è stato aggiunto Confronta
5 pezzi AmaArt: CP1363 Vomerina triangolare Ama per molla flex da 155x150mm Questa vomerina triangolare per molla flex del marchio Ama è appositamente progettata per offrire risultati eccezionali nella lavorazione del terreno. Per molla flex da 32x10 mm e da 32x12 mm. Presenta una lunghezza di 155 mm, una larghezza di 150 mm e... €29.17 Aggiungi al carrello L'articolo è stato aggiunto Confronta
15 pezzi AmaArt: CP1362 Vomerina triangolare 105x4mm per molla flex Vomerina triangolare per vibrocoltivatore con dimensioni di 105x4 mm, progettata per essere montata su molle flex con sezione di 32x10 mm e 32x12 mm. Per l'installazione è necessario un bullone a testa ovale M10 che può essere acquistato... €51.97 Aggiungi al carrello L'articolo è stato aggiunto Confronta
AmaArt: CP1365 Vomerina triangolare 200x155mm per molla flex Questa vomerina triangolare per vibrocoltivatore è progettata appositamente per molle flex di dimensioni 32x10 mm e 32x12 mm fissandola con un bullone a testa ovale M10.Con la sua forma triangolare e le sue dimensioni di 200x155 mm, è un’ottima soluzione... €24.40 Aggiungi al carrello L'articolo è stato aggiunto Confronta
5 pezzi AmaArt: CP1364 Vomerina triangolare 155x175mm per molla flex Questa vomerina triangolare per molla flex del marchio Ama è appositamente progettata per offrire risultati eccezionali nella lavorazione del terreno. Per molla flex da 32x10 mm e da 32x12 mm. Presenta una lunghezza di 155 mm, una larghezza di 175 mm e... €31.94 Aggiungi al carrello L'articolo è stato aggiunto Confronta
AmaArt: CP1251 Vomerina a cuore per ancora estirpatore Vomerina a forma di cuore con dimensioni di 235x125 mm, progettata per ancora estirpatore. Dotata di fori quadrati con diametro di 13,5 mm, uno dei quali è fornito di asola per una maggiore versatilità di montaggio. €24.40 Aggiungi al carrello L'articolo è stato aggiunto Confronta
3 pezzi AmaArt: CP1324 Vomere reversibile 60x12 interasse 45-50mm Vomere reversibile per coltivatore con lunghezza di 290 mm, larghezza di 60 mm e spessore di 12 mm. Questo modello è composto da due fori da 13 mm di cui uno ad asola, con interasse di 45-50 mm. €45.26 Aggiungi al carrello L'articolo è stato aggiunto Confronta
AmaArt: CP1324A Vomere Ama reversibile con dimensioni di 58x8x230mm e interasse da 42-48mm Vomere reversibile per molle coltivatore dalle dimensioni di 58x8x230 mm. Il prodotto ha un interasse da 42-48 mm. Si presenta con un peso complessivo di 1,3 kg. Lo spessore è di 8 mm. €24.40 Aggiungi al carrello L'articolo è stato aggiunto Confronta
AmaArt: CP1384A Vomere a lancia 2 fori 200x6mm adattabile a Siderman Vomere a lancia adattabile a Siderman, con una lunghezza complessiva della lancia di 175 mm. Articolo per vibrocoltivatori che consente il ribaltamento del terreno da parte del versoio, facilitando la penetrazione nel terreno. Questo prodotto presenta... €28.72 Aggiungi al carrello L'articolo è stato aggiunto Confronta
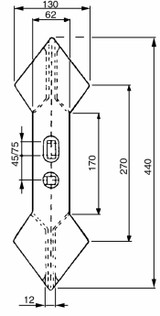
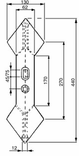
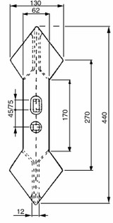
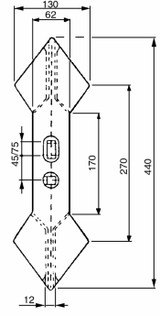
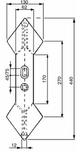
AmaArt: CP1326 Vomere doppio cuore compatibile Vogel&Noot CV007005 440x130mm Vomere reversibile a doppio cuore con una larghezza di 130 mm, lunghezza di 440 mm e un interasse regolabile da 45 mm a 75 mm. Lo spessore è di 15 mm. Questo vomere corrisponde al riferimento originale Vogel&Noot CV007005. Compatibile anche... €35.24 Aggiungi al carrello L'articolo è stato aggiunto Confronta
AmaArt: CP1353A Rinforzo molla dritta 32x10/12mm adattabile Kongskilde ed Eva Rinforzo per molla flex tipo diritta 32x10 e 32x12 mm adattabile alla produzione Kongskilde ed Eva. €24.89 Aggiungi al carrello L'articolo è stato aggiunto Confronta
AmaArt: CP1369B Molla rompitraccia senza vomere 32x10mm Molla rompitraccia per vibrocoltivatore senza vomere incluso. Questa molla robusta e resistente è progettata per garantire prestazioni ottimali durante il lavoro nel campo. Con una sezione di 32x10 mm, è in grado di affrontare terreni... €33.01 Aggiungi al carrello L'articolo è stato aggiunto Confronta