Dente pick-up per rotopressa Ø 5,5mm adattabile Italo Svizzera
Dente pick-up per rotopressa Ø 5,5mm adattabile Italo Svizzera
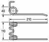
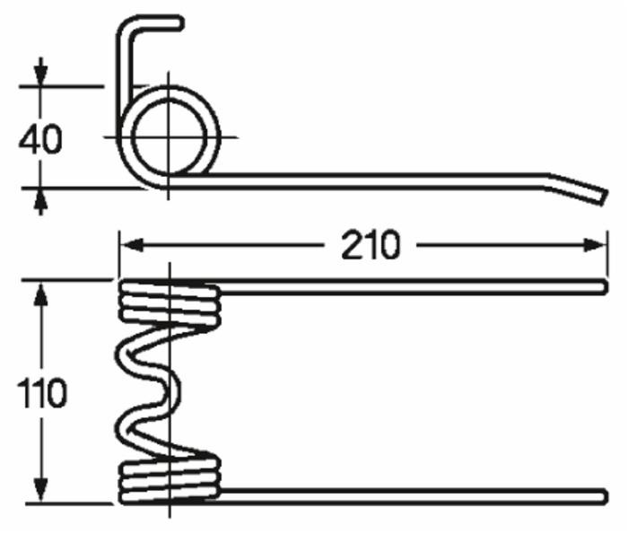
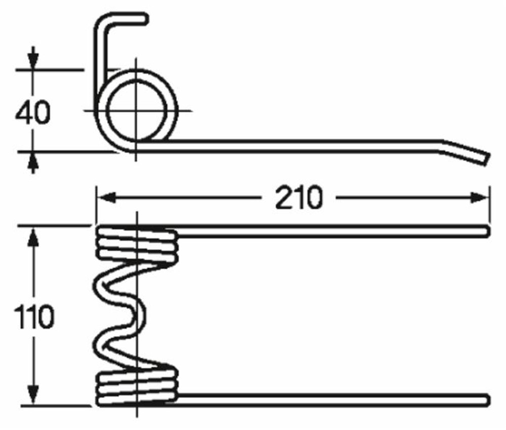
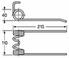
Dente pick-up per pressa e rotopressa con una lunghezza complessiva di 210 mm.
Questo prodotto, dotato di una bobina con diametro di 40 mm ed ampiezza di 110 mm, costituito in filo dallo spessore di 5,5 mm, è compatibile con l'utilizzo sulla produzione Italo Svizzera.
Dente costruito per adattarsi al terreno consentendo una maggiore flessibilità e una maggiore efficienza del taglio.
Euro