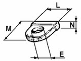
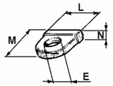
20 pezzi AmaArt: 03523 Golfaro leggero per chiusura rimorchi foro ø 12mm Il golfaro leggero, con foro di diametro 12 mm, è progettato per essere utilizzato con le chiusure a palla Ama art. 03521 e 03522. Con una lunghezza di 31 mm e un'altezza di 30 mm, questo golfaro... €24.40 Aggiungi al carrello L'articolo è stato aggiunto