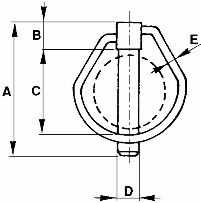
Spina a scatto con molla a forma ovale. Altezza 35 mm e diametro 4,5 mm, adatta ad alberi da 10 a 15 millimetri.
Dettagli
Diametro sotto testa
23 mm
Destinazione d'uso
Agricoltura, macchine industriali, macchine movimento terra, macchine speciali, officina